Your ESN should be: 472906S0184897
271.1 SPN 1636/FMI 3 - EPA10
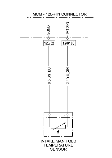
Intake Manifold Temperature Circuit Failed High
It corresponds to this sensor wiring:
![]()
Did you disconnect this with key on or something?
Freightliner cascadia dd15. ???? Coad question
Discussion in 'Freightliner Forum' started by Trenton325, Dec 16, 2020.
Page 2 of 2
Page 2 of 2

